Vorhängeschloss – TOKOZ GAMA 70 RS
Hochwertige Vorhängeschlösser aus rostfreiem Stahl für individuelle Einsatzzwecke.
Die GAMA Serie von TOKOZ ist zertifiziert nach EN 1627, EN 12320 und entspricht der Sicherheitsklasse 4.
TOKOZ garantiert einen absoluten Schutz gegen Nachschließ- („Lockpicking“) bzw. Aufbrechversuche. Der Schließmechanismus wird aus rostfreiem Stahl gefertigt.
Der Bügel selbst ist besonders gehärtet um höchste Resistenz gegen Bolzenschneider, Sägen, Schlag- und Kneifwerkzeuge zu bieten.
Die Besonderheit beim GAMA 70 RS – Der Bügel ist vollständig herausnehmbar (RS = removeable shakle).
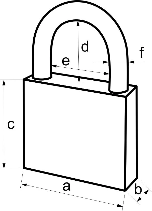
| TOKOZ GAMA Serie | GAMA 70 RS |
| Abmessungen in mm | |
| A – Schlosskörperbreite | 72,0 |
| B – Schlosskörpertiefe | 30,0 |
| C – Schlosskörperhöhe | 94,0 |
| D – Bügelöffnung Höhe | 42,0 |
| E – Bügelöffnung Breite | 28,0 |
| F – Bügeldurchmesser | Ø 14,0 |















Rezensionen
Es gibt noch keine Rezensionen.